南京知名房企被申请破产!多个项目陷开发缓慢、封盘困境

近日,南京本土房企银城地产旗下专注于房地产开发的子公司,被申请破产审查,旗下多个项目被曝开发缓慢、封盘、甚至土地被收回,其母公司银城国际控股已于今年3月退市。

01

被申请破产审查!或波及旗下超百家企业

据全国企业破产重整案件信息网消息,10月21日, 南京银城房地产开发有限公司(以下简称“南京银城”)被申请破产审查,申请人为菱王电梯有限公司,办理法院为江苏省南京市中级人民法院。

天眼查显示,南京银城成立于2009年9月24日,是一家以从事房地产业为主的企业。企业实缴资本230000万人民币。


公开资料显示,南京银城是银城地产旗下专注房地产开发的企业,开发了INS.Mall银城汇等项目,对外投资(间接)了包括南京银浦房地产开发有限公司(金陵星图开发企业)、南京颐城房地产开发有限公司(上棠颐和府开发企业)、南京银泉房地产开发有限公司(林泉高致开发企业)、南京银嘉浈企业管理有限公司(金陵玖园控股企业)、南京银嘉沃企业管理有限公司(江宸府控股企业)等100余家企业。


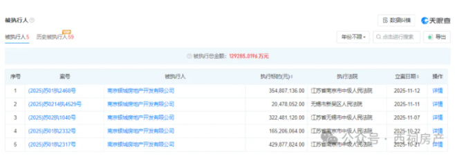
目前,南京银城被限制高消费、被列为被执行人,被执行总金额为129285.0196万元。

此外,11月3日,瑞森生活服务(前称“银城生活服务”即银城物业)公告,银城地产创始人黄清平及董事长谢晨光双双辞去了上市物企瑞森生活服务的所有职务。


02

多个项目被曝开发缓慢、封盘

南京银城作为控股方或主要操盘手的多个项目,被曝出现开发进度迟缓、销售暂停(封盘)、土地被收回等问题。

INS.Mall银城汇

INS.Mall银城汇拿地8年,至今尚未建成。今年3月,鼓楼区建设局曾表示回复:“宁海路银城INS Mall商场预计2026年下半年组织竣工验收。”>>>等了8年,主城这座商业体终于动了!明年有望竣工

INS.Mall银城汇位于南京市鼓楼区汉口西路38号,紧邻南师大,周边有南阴阳营、华新巷、南北秀村等小区。2017年,银城斥资4.2亿拿下该项目,备案名为“银城汇商厦”。INS.Mall银城汇商场总建面约4.8万方,地下5层,地上6层,分为A、B两个地块。

△INS.Mall银城汇,西祠房产实拍于2024年6月24日

2022年,INS.Mall银城汇因未将部分预售款项用于工程建设费用,被南京市住房保障和房产局处以罚款1万元,于2024年6月13日在“信用南京”网站公示。

林泉高致


林泉高致是银城打造的江北高端别墅项目,近期被曝因长期停工,土地被政府回收,售楼处被连夜拆除。



△林泉高致拆除现场(图源网络,如有侵权请联系删除)

项目所在的浦口汤泉G56地块,2021年5月21日,银城以总价5.3亿元拿下该地块,楼面价10349元/㎡,毛坯限价19300元/㎡。银城本计划打造高端温泉叠墅,计划打造金陵玖园秭妹篇,没想到项目一直停滞搁浅,长期处于停工状态。



江宸府

今年7月,由银城操盘的河西高端盘——江宸府被爆封盘,售楼处关门。

△江宸府售楼处,西祠房产实拍于2025年7月30日

江宸府这块地是2021年5月20日经过12轮竞价,达到最高限价,成交楼面地价35907元/㎡,被下关城开和南京宏顺联合拿下,之后由下关城开、宏顺地产、中梁地产集团和银城国际四家开发商联合开发,银城负责操盘。

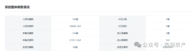
据南京网上房地产数据显示,项目两栋楼一共184套房,2022年开盘,目前成交60套,还剩124套房没有出售。

银城国际医疗健康城

银城国际医疗健康城由南京银城医疗管理有限公司开发,已拿地6年,尚未启动建设。在今年2月秦淮区政府工作报告中提到:“全力突破攻坚项目,推银城国际医疗健康城等项目复工建设。”


银城国际医疗健康城位于南京主城的南部新城,紧邻南京市中医院,周边有金地大成雅境、中芬合作交流中心等项目。



2019年10月,银城医疗以2.6亿元的代价成功中标南京秦淮区南部新城健康产业园地块(NO.2019G63地块)。规划显示,项目占地面积约26750平方米,规划用地性质为AS1医院用地,总建筑面积约为15万平方米,主要功能为专科医院、康复中心、医护中心等。



2024年,该项目被曝作为债权抵押物进行招商。相关内容显示,该笔贷款为银团贷款,截至2024年1月16日,银团贷款总余额6.4亿元,拟转让对南京银城医疗管理有限公司债权本息合计8199.71万元,其中本金8000万元,利罚息合计199.71万元。