刚刚,新城控股旗下在宁开发企业被申请破产审查,或波及南京知名商业建邺吾悦广场……
01
南京一开发商被申请破产审查,或波及名下商场
1月9日,全国企业破产重整案件信息网显示,南京新城万博房地产开发有限公司(以下简称“新城万博房地产”)被绿城建筑科技集团有限公司申请破产审查,经办法院为南京市建邺区人民法院。
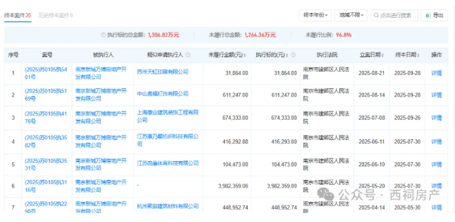
公开信息显示,新城万博房地产在南京开发了地标综合体——建邺吾悦广场。天眼查显示,新城万博房地产为新城控股旗下子公司,目前已被列为被执行人,深陷多起法律诉讼,未履行总金额为1264.36万元。
有业内人士指出,对于已形成稳定运营体系的建邺吾悦广场而言,开发商的破产审查对其日常运营的直接影响相对有限。商业项目的核心价值在于其地理位置、业态组合及运营能力,即便后续进入破产清算程序,对商场来说也是一种机遇,有望引入更具实力的投资者或运营方。
此外,值得一提的是,建邺吾悦广场或已被抵押用于融资。公开报道显示,为缓解资金压力,新城控股已将其核心商业资产吾悦广场进行大规模抵押。据其2025年半年度财报,账面价值约1215亿元的投资性房地产(主要为吾悦广场)中,截至2025年6月末已有约1065亿元处于受限状态,抵押比例高达约88%。
02
斥资超50亿打造!销售额曾排河西第三
作为南京头部旗舰综合体,建邺吾悦广场以超50亿投资、36万㎡体量,聚合了购物中心、主题商街、高端公寓与康养等全维业态。其20万㎡商业(含16万㎡购物中心)自持比例高达80%以上。
2021年开业之初,建邺吾悦广场便以国内首创的400米室内水系长廊、7000平方米下沉式演绎广场及层层退台的空中花园等创新设计,迅速跻身南京网红打卡地行列。运营数据同样亮眼,据公开报道,2023年该商场实现销售额14.1亿元,年客流量达1726万人次,稳居建邺区商业综合体销售额第三名。
不过随着时间的推移,商场人气有所滑落,招商品牌遭网友吐槽。
“感觉这个吾悦很迷,总是招一些“小众”、没有品牌力的牌子。新招的餐饮也是看不懂,属于是根本不会考虑的。之前什么泰国活动更是无语,外街的小摊子没一个店家,运营能力真的不太行。”
“前两年还经常去,好久没去了,上个月跟朋友约在那边,好萧条,没什么能吃的了”
近日,西祠房产实探建邺吾悦广场发现,其购物中心基本是满租状态,但主题商街出现了多个店铺空置的情况,正在招租。


建邺吾悦广场后续情况如何?西祠房产将持续关注。