停滞2年!南京暴雷大盘,迎转机?

继南京宝能城市发展有限公司(燕子矶宝能金融中心开发企业)破产清算后,宝能在宁的又一分公司——南京宝能置业有限公司也被申请破产审查,其开发的大型住宅项目“宝能翡丽河滨”或将迎来转机。


01

被申请破产审查!南京一房企遭变故

据全国企业破产重整案件信息网消息,近日,南京宝能置业有限公司被申请破产审查,申请人为江苏银行股份有限公司南京分行,办理法院为南京市雨花台区人民法院。

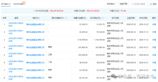
天眼查显示,南京宝能置业有限公司债务缠身,已被列为失信被执行人、被执行人,执行标的总金额为256699.04万元,其中未履行总金额为255174.43万元。

02

停工多时!雨花超级大盘或迎转机

公开资料显示,南京宝能置业有限公司在宁开发了超级大盘“宝能翡丽河滨”。随着该公司进入破产审查程序,宝能翡丽河滨或将面临资产处置,有望重启建设。

宝能翡丽河滨位于雨花板桥,2020年4月30日,该项目所在地块经过191轮竞拍,被宝能以总价27.1亿元(达最高限价)、竞自持租赁住房面积21200㎡拿下,楼面价15253元/㎡,成为板桥真正意义上的“地王”。项目规划打造14座高层住宅以及配套商业,约1059户。

受宝能暴雷影响,项目曾多次陷入停工风波。2024年4月,宝能翡丽河滨一期5栋楼在延期7个月后,终于迎来交房。而项目二期9栋楼一直未能上市,陷入停滞状态。>>>心塞!南京又有两家楼盘被曝停工!官方回复…

△宝能翡丽河滨,西祠房产实拍于2022年11月30日


近日,西祠房产实地探访该项目。航拍画面显示,宝能翡丽河滨二期与已交付的一期之间设有绿色围挡,形成清晰分割。二期内部无人施工,垃圾遍地。


△宝能翡丽河滨,西祠房产实拍于2026年1月7日


项目二期的9栋住宅楼中,已有4栋住宅楼封顶,但外立面尚未开始施工;另有3栋仍处于主体结构施工阶段,屋顶钢筋裸露在外。


△宝能翡丽河滨,西祠房产实拍于2026年1月7日


去年11月,有媒体报道称,项目售楼处已人去楼空。当时,雨花住建部门表示,对于该项目二期的建设问题,宝能集团和江苏银行正在对接处置路径。


△图源见水印




此外,有网友报爆料,项目二期工地大门上贴有多张供电部门的电费欠费停电通知书,其欠费已经达到一万多元。


图源雨花微生活

如今,随着南京宝能置业有限公司破产审查的推进,宝能翡丽河滨或将迎来转机。后续情况如何,西祠房产将持续关注。